664GK
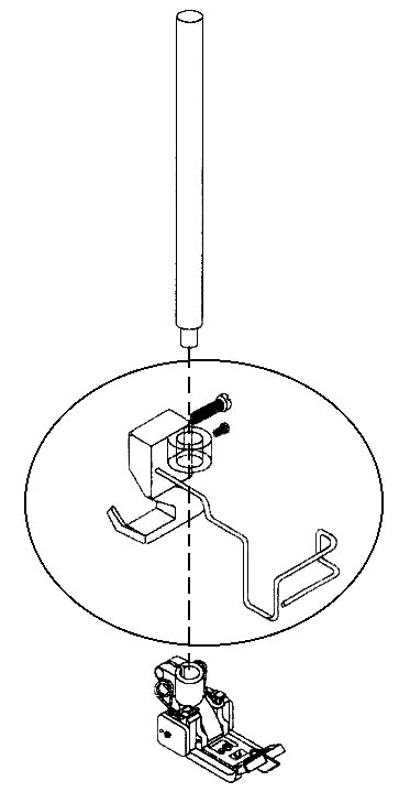
安全縫護針罩連割線刀
Safety Stitching Needle Guard and Thread Cutter
目 錄
E-mail :
marketing@kwokhing.com
All right reserved by
Kwok Hing Sewing Machine Co.